7月31日下午,深圳市宝路华宝龙运输有限公司一辆载有20人的大客车在广西境内侧翻,事故造成5人死亡,多人受伤。截至8月1日中午12时,仍有伤者在重症监护室救治。

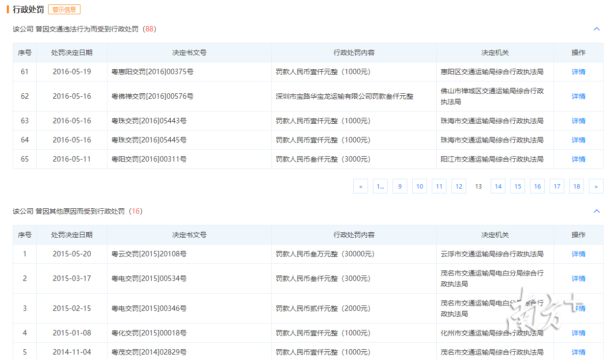
有乘客反映,自己是在客运站外上车,然后购票。南方+记者查询公开信息发现,涉事运输公司过去5年的行政处罚高达88起,不按批准的客运站点停靠或者不按规定的线路、班次行驶等违规行为几乎遍布全省。
探访医院:部分伤者已经出院,但仍有人在ICU救治
据通报,事故车辆为粤BAQ378,由深圳开往广西桂林市龙胜县,在广东往贺州方向大桂山路段发生事故。车上除了司机,其余19人均受伤,其中5人死亡、1人重伤。

伤者被送往贺州市中医院救治。8月1日上午,记者前往贺州市中医院采访,发现部分轻伤者已经出院。但仍有多名伤者留院治疗、观察,其中2人在重症监护室。

多名伤者及其家属说,他们不是集体到桂林旅游,而是互不相识的乘客。
伤者孙先生告诉记者,他在深圳工作,老家在湖南省城步苗族自治县,从深圳回老家需要在桂林市龙胜县转车。“我老伴坐过这条线路的车,司机给过她卡片。7月30日,我按照卡片上的联系方式预订了位置。”

陆女士的弟弟小冰在事故中受重伤。她告诉记者,自己在深圳定居,弟弟暑假过来玩。玩了一个多月后,小冰决定独自返回龙胜县的老家,在31日早上坐上了事故车辆。
乘客回忆:事发前车很平稳,有人没扣安全带被甩出座位
据通报,事故发生时,路面湿滑,事故车辆并没有与其他车辆发生碰撞。据深圳市交通运输局核查,事故车辆年审有效期、行驶证有效期均未到期。
交警部门对大客车司机进行呼气式酒精检测,检测结果显示司机未酒驾。司机从业资格证有效期未到期。

乘客孙先生回忆,当时车上无超载现象,车辆在事故前开得很平稳。“我的位置靠前,但看不到司机,翻车前也没听到司机发出什么声音。”他庆幸自己上车就扣紧了安全带,“我没有被甩出去,但一些人没扣安全带,直接甩出了座位。”
“我盆骨很痛,车辆翻了以后我就从天窗爬出去了。”孙先生说,不久后,交警和医生就到了现场救援。
天眼查:涉事客运公司过去5年被处罚88次,违规遍布全省
陆女士介绍,弟弟小冰是在深圳沙井中心客运站搭乘粤BAQ378的。
但孙先生则表示,自己不是在客运站上车,而是在深圳市光明区公明街道楼村社区等待接送的车。“事先电话约定好,然后就在那里等,对方派一辆车来接他到一个不知名的地方坐车,上车后才买的票。”
粤BAQ378为深圳市宝路华宝龙运输有限公司所有。记者在“天眼查”查询发现,过去5年间,该公司因交通违法行为而受到行政处罚数量高达88条,其他行政处罚有16条。处罚原因多为客运班车不按批准的客运站点停靠或者不按规定的线路、班次行驶。

记者梳理发现,深圳、佛山、东莞、珠海、中山、江门、湛江、阳江、梅州、茂名、云浮等地市的交通执法部门都处罚过深圳市宝路华宝龙运输有限公司。公司的违规行为几乎遍布全省。
此外,深圳市宝路华宝龙运输有限公司因违反交规肇事而被多次起诉,最高一次赔偿20多万元。
深圳交通局:全力做好事故后续处置工作
据通报,7月31日晚,深圳市交通运输局紧急召开会议,研究部署事故后续处置工作,市交通运输局、宝安区政府以及深圳市宝路华宝龙运输有限公司分别派出工作人员前往事故发生地,全力做好事故后续处置工作。
8月1日上午10点,陆女士在贺州市中医院的重症监护室门口等待弟弟小冰的消息。她从深圳连夜赶到了广西贺州中医院,在重症监护室的门口,等了一夜。
“医生还没把弟弟的最新情况告诉我,我祈求他平安。”陆女士说,弟弟暑假的深圳之旅玩得很开心,他很喜欢深圳。今年9月,姐姐计划接小冰到深圳读中学,现在,她希望能如愿。(文中小冰是化名)
【记者】金祖臻 张迪 发自广西贺州
【后方联动记者】 刘珩
【统筹】梁文悦
【校对】黄买冰

